大象彩票温馨提示: 如果你想了解更多信息(如产品价格、参数、规格及处理能力等),请联系鑫海客服,我们竭诚为您提供优质的服务和知识分享,鑫海欢迎您的来访!
微信询价
KYF(XCF)型充气机械搅拌式浮选机由北京矿冶研究总院于20世纪80年代中期研制成功,均与芬兰奥托昆普OK型浮选机类似,同时吸收了美国Dorr-Oliver型浮选机的优点。XCF型浮选机与KYF型浮选机配套使用,二者的结构特点相似,外形尺寸相同。现以KYF型浮选机为例进行介绍。
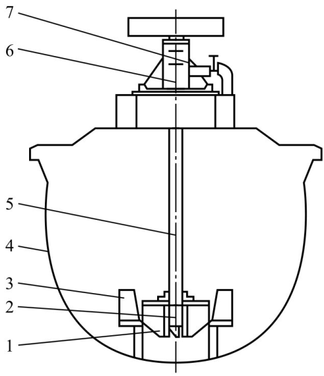
KYF型浮选机(一)

1—叶轮;2—空气分配器;3—定子;4—槽体;5—主轴;6—轴承体;7—空气调节阀
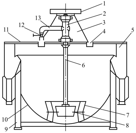
KYF型浮选机(二)

1—带轮;2—轴承体;3—支座;4—风管;5—泡沫槽;6—空心轴;7—定子;8—叶轮;9—槽体支架;10—槽体;11—操作台;12—风阀;13—进风管
KYF型浮选机采用U形槽体、空心轴充气和悬挂定子,尤其是采用了一种新式叶轮。这是一种叶片后倾一个角度的锥形叶轮,类似于高比转速的离心泵轮,扬送矿浆量大、压头小、功耗低且结构简单。
在叶轮腔中还装置了多孔圆筒形空气分配器,使空气能预先均匀地分散在叶轮叶片的大部分区域,提供了较大的矿浆-空气接触界面。

在浮选机工作时,随着叶轮的旋转,槽内矿浆从四周经槽底由叶轮下端吸到叶轮与叶片之间,同时,由鼓风机给入的低压空气经空心轴和叶轮的空气分配器,也进入其中。矿浆与空气在叶片之间充分混合后,从叶轮上半部周边向斜上推出,由定子稳流和定向后进入整个槽子中。气泡上升到泡沫稳定区,经过富集过程,泡沫从溢流堰自流溢出,进入泡沫槽。还有部分矿浆向叶轮下部流去,再经过叶轮搅拌,重新混合形成矿化气泡,剩余的矿浆流向下一槽,直到最终成为尾矿。
KYF型浮选机槽内流体运动状态合理,矿浆悬浮状态好,矿粒分布均匀,泡沫层稳定。矿浆液面自动控制系统工作可靠,控制器功能强,配置灵活,调节性能好,充气量调节容易,操作维护简单,设备故障率低。KYF型浮选机以单槽容积算,有1~320m3等多种规格。
大象彩票您可以在下面表格填写您的需求信息,我们的技术与销售人员会尽快与您取得联系。为保证能及时处理您的信息,请务必准确填写您的联系电话!